TOP
|
特許
|
意匠
|
商標
意匠ウォッチ
Twitter
他の意匠を見る
発行日
2025-12-08
公報種別
意匠公報(S)
登録番号
1814321
登録日
2025-11-28
意匠に係る物品
コネクタ
意匠分類
H1
-302(基本的電気素子)
出願番号
2025013562,202530360481.6
出願日
2025-07-07
意匠権者
星系科技股ふん有限公司
代理人
弁理士法人IP-FOCUS
意匠に係る物品の説明
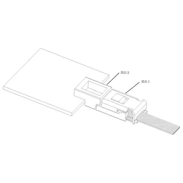
本物品は、部品1(光ファイバープラグ)と部品2(デバイスソケット)から構成され、部品1と部品2が組み合わされて使用されるコネクタである。
意匠の説明
意匠ウォッチbot のツイートを見る
この意匠をJ-PlatPat(特許庁公式サイト)で参照する
関連意匠
星系科技股ふん有限公司
コネクタ
1日前
星系科技股ふん有限公司
コネクタ
1日前
タイコ エレクトロニクス (シャンハイ) カンパニー リミテッド
端子
8か月前
リーダーソン ライティング カンパニー リミテッド
電球
9か月前
東莞市諾星電子有限公司
電池
7か月前
タイコ エレクトロニクス (シャンハイ) カンパニー リミテッド
端子
8か月前
東莞市楽点照明科技有限公司
電球
1か月前
タイコ エレクトロニクス (シャンハイ) カンパニー リミテッド
端子
8か月前
深せん市緑巨能科技発展有限公司
電池
5か月前
タイコ エレクトロニクス (シャンハイ) カンパニー リミテッド
端子
8か月前
新電元工業株式会社
コイル
7か月前
深セン安培時代数字能源科技有限公司
蓄電池
7か月前
新電元工業株式会社
ボビン
6か月前
安克創新科技股ふん有限公司
充電器
11か月前
ハーヴェー ハイドローリック エスイー
電磁石
1か月前
株式会社マキタ
蓄電池
2か月前
日東工業株式会社
端子台
4か月前
新電元工業株式会社
ボビン
2か月前
日東工業株式会社
端子台
4か月前
洪祿有限公司
ボビン
2か月前
日本航空電子工業株式会社
端子台
7か月前
日東工業株式会社
端子台
4か月前
株式会社戸上電機製作所
開閉器
10か月前
株式会社戸上電機製作所
開閉器
10か月前
ムーブオン株式会社
充電器
7か月前
テンパール工業株式会社
開閉器
5か月前
新電元工業株式会社
ボビン
7か月前
新電元工業株式会社
コイル
7か月前
安克創新科技股ふん有限公司
充電器
11か月前
新電元工業株式会社
ボビン
6か月前
ハーヴェー ハイドローリック エスイー
電磁石
1か月前
株式会社GSユアサ
蓄電池
1日前
株式会社マキタ
蓄電池
5か月前
株式会社GSユアサ
蓄電池
1日前
ソニーグループ株式会社
蓄電池
7か月前
テンパール工業株式会社
開閉器
5か月前
続きを見る
他の意匠を見る