TOP
|
特許
|
意匠
|
商標
意匠ウォッチ
Twitter
他の意匠を見る
発行日
2025-12-03
公報種別
意匠公報(S)
登録番号
1813997
登録日
2025-11-25
意匠に係る物品
コネクタ
意匠分類
H1
-34200(基本的電気素子)
出願番号
2025010635
出願日
2025-05-29
意匠権者
日本航空電子工業株式会社
,
Japan Aviation Electronics Industry Limited
代理人
弁理士法人海田国際特許事務所
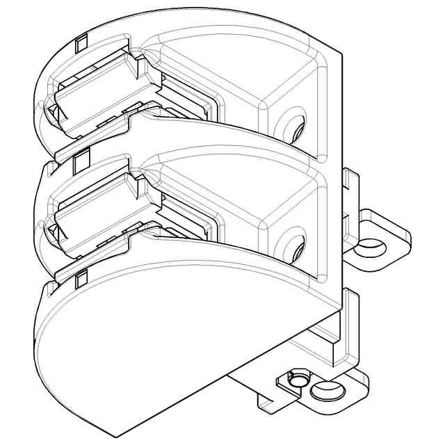
意匠に係る物品の説明
本物品は、「使用状態を示す参考図1」及び「使用状態を示す参考図2」に示すように、正面側で相手側コネクタと嵌合させることで、本物品と相手側コネクタとを接続して使用するためのコネクタである。本物品の背面には、外部機器との接続のための端子が設けられており、使用時にはケーブル等の接続体が取り付けられる場合がある。図面ではこれら接続体は省略されており、本物品は接続体の装着状態を含まないものとして示されている。
意匠の説明
「参考斜視図1」乃至「参考斜視図4」において表れる細線は、いずれも立体表面の形状を特定するための稜線である。
この意匠をJ-PlatPat(特許庁公式サイト)で参照する
関連意匠
日本航空電子工業株式会社
端子台
7か月前
日本航空電子工業株式会社
コネクタ
2日前
日本航空電子工業株式会社
コネクタ
8か月前
日本航空電子工業株式会社
コネクタ
7か月前
日本航空電子工業株式会社
コネクタ
7か月前
日本航空電子工業株式会社
教示器
7か月前
日本航空電子工業株式会社
コネクタ
7か月前
日本航空電子工業株式会社
コネクタ
8か月前
日本航空電子工業株式会社
コネクタ
8か月前
日本航空電子工業株式会社
コネクタ
8か月前
日本航空電子工業株式会社
コネクタ
8か月前
日本航空電子工業株式会社
コネクタ
7か月前
日本航空電子工業株式会社
コネクタ
8か月前
日本航空電子工業株式会社
コネクタ
8か月前
日本航空電子工業株式会社
コネクタ
8か月前
日本航空電子工業株式会社
コネクタ
9か月前
日本航空電子工業株式会社
コネクタ
9か月前
日本航空電子工業株式会社
コネクタ
9か月前
日本航空電子工業株式会社
コネクタ
10か月前
日本航空電子工業株式会社
コネクタ
10か月前
日本航空電子工業株式会社
コネクタ
10か月前
日本航空電子工業株式会社
コネクタ
7か月前
日本航空電子工業株式会社
コネクタ
7か月前
日本航空電子工業株式会社
コネクタ
2日前
日本航空電子工業株式会社
コネクタ
3か月前
日本航空電子工業株式会社
コネクタ
2日前
日本航空電子工業株式会社
コネクタ
29日前
日本航空電子工業株式会社
コネクタ
29日前
日本航空電子工業株式会社
教示器
1か月前
日本航空電子工業株式会社
コネクタ
2日前
日本航空電子工業株式会社
コネクタ
2日前
日本航空電子工業株式会社
コネクタ
3か月前
日本航空電子工業株式会社
コネクタ
3か月前
日本航空電子工業株式会社
コネクタ
4か月前
日本航空電子工業株式会社
コネクタ
2日前
日本航空電子工業株式会社
コネクタ端子
2日前
続きを見る
他の意匠を見る