TOP
|
特許
|
意匠
|
商標
意匠ウォッチ
Twitter
他の意匠を見る
発行日
2025-12-03
公報種別
意匠公報(S)
登録番号
1813996
登録日
2025-11-25
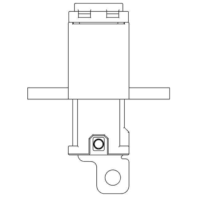
意匠に係る物品
コネクタ端子
意匠分類
H1
-341(基本的電気素子)
出願番号
2025010634
出願日
2025-05-29
意匠権者
日本航空電子工業株式会社
,
Japan Aviation Electronics Industry Limited
代理人
弁理士法人海田国際特許事務所
意匠に係る物品の説明
意匠の説明
「参考斜視図1」乃至「参考斜視図4」において表れる細線は、いずれも立体表面の形状を特定するための稜線である。
この意匠をJ-PlatPat(特許庁公式サイト)で参照する
関連意匠
日本航空電子工業株式会社
端子台
7か月前
日本航空電子工業株式会社
コネクタ
2日前
日本航空電子工業株式会社
コネクタ
8か月前
日本航空電子工業株式会社
コネクタ
7か月前
日本航空電子工業株式会社
コネクタ
7か月前
日本航空電子工業株式会社
教示器
7か月前
日本航空電子工業株式会社
コネクタ
7か月前
日本航空電子工業株式会社
コネクタ
8か月前
日本航空電子工業株式会社
コネクタ
8か月前
日本航空電子工業株式会社
コネクタ
8か月前
日本航空電子工業株式会社
コネクタ
8か月前
日本航空電子工業株式会社
コネクタ
7か月前
日本航空電子工業株式会社
コネクタ
8か月前
日本航空電子工業株式会社
コネクタ
8か月前
日本航空電子工業株式会社
コネクタ
8か月前
日本航空電子工業株式会社
コネクタ
9か月前
日本航空電子工業株式会社
コネクタ
9か月前
日本航空電子工業株式会社
コネクタ
9か月前
日本航空電子工業株式会社
コネクタ
10か月前
日本航空電子工業株式会社
コネクタ
10か月前
日本航空電子工業株式会社
コネクタ
10か月前
日本航空電子工業株式会社
コネクタ
7か月前
日本航空電子工業株式会社
コネクタ
7か月前
日本航空電子工業株式会社
コネクタ
2日前
日本航空電子工業株式会社
コネクタ
3か月前
日本航空電子工業株式会社
コネクタ
2日前
日本航空電子工業株式会社
コネクタ
29日前
日本航空電子工業株式会社
コネクタ
29日前
日本航空電子工業株式会社
教示器
1か月前
日本航空電子工業株式会社
コネクタ
2日前
日本航空電子工業株式会社
コネクタ
2日前
日本航空電子工業株式会社
コネクタ
3か月前
日本航空電子工業株式会社
コネクタ
3か月前
日本航空電子工業株式会社
コネクタ
4か月前
日本航空電子工業株式会社
コネクタ
2日前
日本航空電子工業株式会社
コネクタ端子
2日前
続きを見る
他の意匠を見る