TOP
|
特許
|
意匠
|
商標
意匠ウォッチ
Twitter
他の意匠を見る
発行日
2025-11-17
公報種別
意匠公報(S)
登録番号
1812855
登録日
2025-11-07
意匠に係る物品
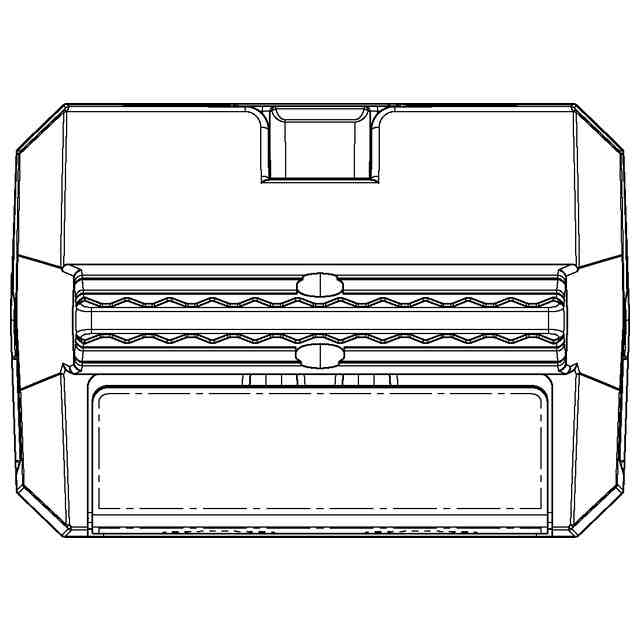
包装用容器を模したおもちゃ
意匠分類
E1
-430(おもちゃ)
出願番号
2024010711
出願日
2024-05-28
意匠権者
株式会社バンダイ
,
KABUSHIKI KAISHA BANDAI
代理人
意匠に係る物品の説明
本物品は包装用容器を模したおもちゃであって、「右側面図」の中央部分が左右方向に膨らむ形状をなし、かつ、上下に突出部分が設けられていること、および、「正面図」の一点鎖線で囲まれた領域にお菓子などの食品の情報を示す文字やデザインを施していることで、全体として食品の包装用容器を模している。なお、「正面図」に示す形態から「参考図」に示す形態に変形することができる。
意匠の説明
一点鎖線で囲まれた部分及び破線で示した部分を除く実線で表した部分が、部分意匠として意匠登録を受けようとする部分である。
意匠ウォッチbot のツイートを見る
この意匠をJ-PlatPat(特許庁公式サイト)で参照する
関連意匠
株式会社バンダイ
16か月前
株式会社バンダイ
4か月前
株式会社バンダイ
6か月前
株式会社バンダイ
6か月前
株式会社バンダイ
2か月前
株式会社バンダイ
2か月前
株式会社バンダイ
4か月前
株式会社バンダイ
4か月前
株式会社バンダイ
4か月前
株式会社バンダイ
4か月前
株式会社バンダイ
4か月前
株式会社バンダイ
4か月前
株式会社バンダイ
取付具
3か月前
株式会社バンダイ
シート作成器
4か月前
株式会社バンダイ
人形おもちゃ
5か月前
株式会社バンダイ
人形おもちゃ
5か月前
株式会社バンダイ
把持おもちゃ
4か月前
株式会社バンダイ
ヨーヨー
6か月前
株式会社バンダイ
人形おもちゃ
3か月前
株式会社バンダイ
人形おもちゃ
8か月前
株式会社バンダイ
人形おもちゃ
9か月前
株式会社バンダイ
人形おもちゃ
9か月前
株式会社バンダイ
人形おもちゃ
9か月前
株式会社バンダイ
ヨーヨー
1か月前
株式会社バンダイ
人形おもちゃ
8か月前
株式会社バンダイナムコエクスペリエンス
ゲーム機
1か月前
株式会社バンダイナムコエクスペリエンス
ゲーム機
1か月前
株式会社バンダイ
把持おもちゃ
4か月前
株式会社バンダイ
人形おもちゃ
8か月前
株式会社バンダイ
武器型おもちゃ
11か月前
株式会社バンダイ
指輪型おもちゃ
4か月前
株式会社バンダイ
武器型おもちゃ
11か月前
株式会社バンダイ
指輪型おもちゃ
4か月前
株式会社バンダイ
指輪型おもちゃ
4か月前
株式会社バンダイ
指輪型おもちゃ
4か月前
株式会社バンダイ
人形おもちゃ
9か月前
続きを見る
他の意匠を見る