TOP
|
特許
|
意匠
|
商標
意匠ウォッチ
Twitter
他の意匠を見る
発行日
2025-11-06
公報種別
意匠公報(S)
登録番号
1812288
登録日
2025-10-28
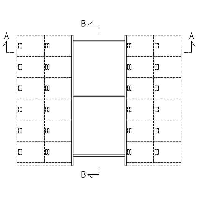
意匠に係る物品
整理棚付きハンガーラック
意匠分類
D6
-516(室内整理用家具・用具)
出願番号
2025015138
出願日
2025-07-30
意匠権者
株式会社オカムラ
代理人
意匠に係る物品の説明
本物品は、正面視中央の上段および中段にハンガーを引っ掛ける為の断面丸形状のパイプを備えたものである。
意匠の説明
左側面図は右側面図と対称にあらわれるため省略する。実線で示した部分が、部分意匠として意匠登録を受けようとする部分である。
この意匠をJ-PlatPat(特許庁公式サイト)で参照する
関連意匠
株式会社オカムラ
いす
7か月前
株式会社オカムラ
いす
6か月前
株式会社オカムラ
いす
7か月前
株式会社オカムラ
いす
7か月前
株式会社オカムラ
いす
6か月前
株式会社オカムラ
机
9か月前
株式会社オカムラ
いす
6か月前
株式会社オカムラ
いす
6か月前
株式会社オカムラ
いす
6か月前
株式会社オカムラ
いす
6か月前
株式会社オカムラ
いす
6か月前
株式会社オカムラ
いす
7か月前
株式会社オカムラ
机
9か月前
株式会社オカムラ
いす
6か月前
株式会社オカムラ
机
9か月前
株式会社オカムラ
いす
3か月前
株式会社オカムラ
いす
6か月前
株式会社オカムラ
机
4か月前
株式会社オカムラ
いす
6か月前
株式会社オカムラ
いす
6か月前
株式会社オカムラ
机
9か月前
株式会社オカムラ
いす
8か月前
株式会社オカムラ
いす
6か月前
株式会社オカムラ
いす
7か月前
株式会社オカムラ
いす
7か月前
株式会社オカムラ
いす
7か月前
株式会社オカムラ
いす
7か月前
株式会社オカムラ
いす
7か月前
株式会社オカムラ
いす
7か月前
株式会社オカムラ
机
7か月前
株式会社オカムラ
いす
7か月前
株式会社オカムラ
いす
7か月前
株式会社オカムラ
いす
7か月前
株式会社オカムラ
机
7か月前
株式会社オカムラ
長いす
9か月前
株式会社オカムラ
ベンチ
7か月前
続きを見る
他の意匠を見る