TOP
|
特許
|
意匠
|
商標
意匠ウォッチ
Twitter
他の意匠を見る
発行日
2025-11-06
公報種別
意匠公報(S)
登録番号
1812230
登録日
2025-10-28
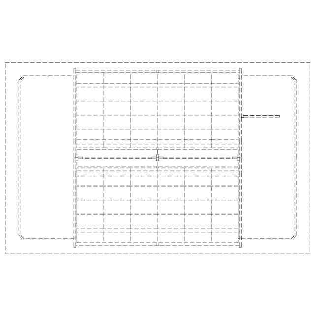
意匠に係る物品
商品販売エリアの内装
意匠分類
L3
-73(組立て家屋、屋外装備品等)
出願番号
2025002366
出願日
2025-02-06
意匠権者
株式会社オカムラ
代理人
意匠に係る物品の説明
本物品は、表示部を示す参考図の様に、正面視右上方にモニター等の表示部を備えたものである。
意匠の説明
背面図は正面図と対称にあらわれるため省略する。実線で示した部分が、部分意匠として意匠登録を受けようとする部分である。一点鎖線は部分意匠として意匠登録を受けようとする部分とその他の部分との境界のみを示す線である。
この意匠をJ-PlatPat(特許庁公式サイト)で参照する
関連意匠
株式会社オカムラ
いす
6か月前
株式会社オカムラ
いす
5か月前
株式会社オカムラ
いす
3か月前
株式会社オカムラ
机
3か月前
株式会社オカムラ
いす
8か月前
株式会社オカムラ
いす
5か月前
株式会社オカムラ
いす
5か月前
株式会社オカムラ
いす
5か月前
株式会社オカムラ
いす
5か月前
株式会社オカムラ
いす
5か月前
株式会社オカムラ
いす
5か月前
株式会社オカムラ
いす
5か月前
株式会社オカムラ
いす
5か月前
株式会社オカムラ
いす
5か月前
株式会社オカムラ
いす
5か月前
株式会社オカムラ
いす
6か月前
株式会社オカムラ
机
9か月前
株式会社オカムラ
いす
6か月前
株式会社オカムラ
いす
6か月前
株式会社オカムラ
いす
6か月前
株式会社オカムラ
いす
6か月前
株式会社オカムラ
いす
6か月前
株式会社オカムラ
いす
6か月前
株式会社オカムラ
机
7か月前
株式会社オカムラ
机
7か月前
株式会社オカムラ
いす
7か月前
株式会社オカムラ
いす
7か月前
株式会社オカムラ
いす
7か月前
株式会社オカムラ
いす
7か月前
株式会社オカムラ
いす
7か月前
株式会社オカムラ
机
9か月前
株式会社オカムラ
いす
5か月前
株式会社オカムラ
机
9か月前
株式会社オカムラ
机
9か月前
株式会社オカムラ
ベンチ
3か月前
株式会社オカムラ
長いす
9か月前
続きを見る
他の意匠を見る