TOP
|
特許
|
意匠
|
商標
意匠ウォッチ
Twitter
他の意匠を見る
発行日
2025-11-06
公報種別
意匠公報(S)
登録番号
1812199
登録日
2025-10-28
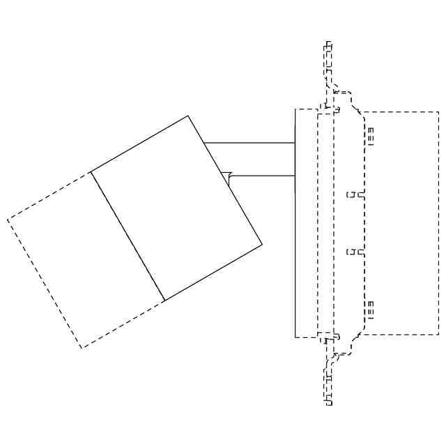
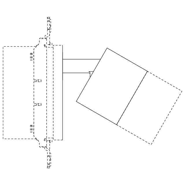
意匠に係る物品
スポットライト
意匠分類
D3
-302(発光具及び照明器具)
出願番号
2024023005
出願日
2024-11-06
意匠権者
パナソニックIPマネジメント株式会社
,
Panasonic Intellectual Property Management Co., Ltd.
代理人
個人
,
個人
意匠に係る物品の説明
本物品は、スポットライトであって、壁面等に設置するプレートに取り付けて使用するものである。
意匠の説明
断面図を含めて、実線で表された部分が、部分意匠として意匠登録を受けようとする部分である。透光部を示す参考図において、薄墨を施した部分の部材は透光性を有する。
意匠ウォッチbot のツイートを見る
この意匠をJ-PlatPat(特許庁公式サイト)で参照する
関連意匠
パナソニックIPマネジメント株式会社
5か月前
パナソニックIPマネジメント株式会社
4か月前
パナソニックIPマネジメント株式会社
12か月前
パナソニックIPマネジメント株式会社
12か月前
パナソニックIPマネジメント株式会社
6か月前
パナソニックIPマネジメント株式会社
4か月前
パナソニックIPマネジメント株式会社
6か月前
パナソニックIPマネジメント株式会社
12か月前
パナソニックIPマネジメント株式会社
12か月前
パナソニックIPマネジメント株式会社
13か月前
パナソニックIPマネジメント株式会社
4か月前
パナソニックIPマネジメント株式会社
4か月前
パナソニックIPマネジメント株式会社
12か月前
パナソニックIPマネジメント株式会社
13か月前
パナソニックIPマネジメント株式会社
3か月前
パナソニックIPマネジメント株式会社
6か月前
パナソニックIPマネジメント株式会社
14か月前
パナソニックIPマネジメント株式会社
14か月前
パナソニックIPマネジメント株式会社
14か月前
パナソニックIPマネジメント株式会社
14か月前
パナソニックIPマネジメント株式会社
14か月前
パナソニックIPマネジメント株式会社
7か月前
パナソニックIPマネジメント株式会社
5か月前
パナソニックIPマネジメント株式会社
12か月前
パナソニックIPマネジメント株式会社
10か月前
パナソニックIPマネジメント株式会社
2か月前
パナソニックIPマネジメント株式会社
5か月前
パナソニックIPマネジメント株式会社
5か月前
パナソニックIPマネジメント株式会社
5か月前
パナソニックIPマネジメント株式会社
5か月前
パナソニックIPマネジメント株式会社
5か月前
パナソニックIPマネジメント株式会社
5か月前
パナソニックIPマネジメント株式会社
11か月前
パナソニックIPマネジメント株式会社
10か月前
パナソニックIPマネジメント株式会社
5か月前
パナソニックIPマネジメント株式会社
11か月前
続きを見る
他の意匠を見る