TOP
|
特許
|
意匠
|
商標
意匠ウォッチ
Twitter
他の意匠を見る
発行日
2025-10-29
公報種別
意匠公報(S)
登録番号
1811776
登録日
2025-10-21
意匠に係る物品
非常灯付き壁直付け灯
意匠分類
D3
-3210(発光具及び照明器具)
出願番号
2024022267
出願日
2024-10-25
意匠権者
パナソニックIPマネジメント株式会社
,
Panasonic Intellectual Property Management Co., Ltd.
代理人
個人
,
個人
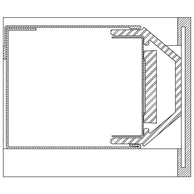
意匠に係る物品の説明
意匠の説明
各断面図において、二重ハッチングを施した部分の部材は透光性を有する。
この意匠をJ-PlatPat(特許庁公式サイト)で参照する
関連意匠
パナソニックIPマネジメント株式会社
8か月前
パナソニックIPマネジメント株式会社
16か月前
パナソニックIPマネジメント株式会社
6か月前
パナソニックIPマネジメント株式会社
6か月前
パナソニックIPマネジメント株式会社
6か月前
パナソニックIPマネジメント株式会社
6か月前
パナソニックIPマネジメント株式会社
17か月前
パナソニックIPマネジメント株式会社
16か月前
パナソニックIPマネジメント株式会社
2か月前
パナソニックIPマネジメント株式会社
2か月前
パナソニックIPマネジメント株式会社
15か月前
パナソニックIPマネジメント株式会社
3か月前
パナソニックIPマネジメント株式会社
7か月前
パナソニックIPマネジメント株式会社
7か月前
パナソニックIPマネジメント株式会社
7か月前
パナソニックIPマネジメント株式会社
8か月前
パナソニックIPマネジメント株式会社
15か月前
パナソニックIPマネジメント株式会社
1か月前
パナソニックIPマネジメント株式会社
8か月前
パナソニックIPマネジメント株式会社
15か月前
パナソニックIPマネジメント株式会社
6か月前
パナソニックIPマネジメント株式会社
3か月前
パナソニックIPマネジメント株式会社
1か月前
パナソニックIPマネジメント株式会社
6か月前
パナソニックIPマネジメント株式会社
5か月前
パナソニックIPマネジメント株式会社
5か月前
パナソニックIPマネジメント株式会社
5か月前
パナソニックIPマネジメント株式会社
5か月前
パナソニックIPマネジメント株式会社
4か月前
パナソニックIPマネジメント株式会社
4か月前
パナソニックIPマネジメント株式会社
4か月前
パナソニックIPマネジメント株式会社
6か月前
パナソニックIPマネジメント株式会社
6か月前
パナソニックIPマネジメント株式会社
3か月前
パナソニックIPマネジメント株式会社
4か月前
パナソニックIPマネジメント株式会社
18か月前
続きを見る
他の意匠を見る