TOP特許意匠商標
意匠ウォッチ Twitter
発行日2025-10-22
公報種別意匠公報(S)
登録番号1811211
登録日2025-10-14
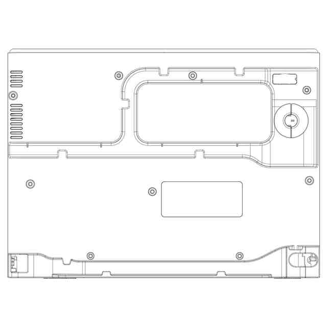
意匠に係る物品Multifunctional docking station for cleaning robot
意匠分類C3-4195(清掃用具、洗濯用具等)
出願番号2025500847,2024306906391
出願日
意匠権者Beijing Roborock Technology Co., Ltd.
代理人
意匠に係る物品の説明
意匠の説明Reproductions 1.1 to 1.3 are three perspective views of a multifunctional docking station for cleaning robot; reproduction 1.4 is a front view thereof, reproduction 1.5 is a back view thereof, reproduction 1.6 is a left view thereof, reproduction 1.7 is a right view thereof, reproduction 1.8 is a top view thereof, and reproduction 1.9 is a bottom view thereof. 1.1)Perspective; 1.2)Perspective; 1.3)Perspective; 1.4)Front; 1.5)Back; 1.6)Left; 1.7)Right; 1.8)Top; 1.9)Bottom
この意匠をJ-PlatPat(特許庁公式サイト)で参照する

関連意匠

Beijing Roborock Technology Co., Ltd.
Side mop for cleaning robot
7か月前
Beijing Roborock Technology Co., Ltd.
Cleaning robot
10か月前
Beijing Roborock Technology Co., Ltd.
Vacuum cleaner
6か月前
Beijing Roborock Technology Co., Ltd.
Cleaning robot
9か月前
Beijing Roborock Technology Co., Ltd.
Cleaning robot
9か月前
Beijing Roborock Technology Co., Ltd.
Cleaning robot
9か月前
Beijing Roborock Technology Co., Ltd.
Cleaning robot
9か月前
Beijing Roborock Technology Co., Ltd.
Cleaning robot
9か月前
Beijing Roborock Technology Co., Ltd.
Cleaning robot
9か月前
Beijing Roborock Technology Co., Ltd.
Cleaning robot
9か月前
Beijing Roborock Technology Co., Ltd.
Vacuum cleaner
9か月前
Beijing Roborock Technology Co., Ltd.
Vacuum cleaner
6か月前
Beijing Roborock Technology Co., Ltd.
Cleaning robot
8か月前
Beijing Roborock Technology Co., Ltd.
Cleaning robot
9か月前
Beijing Roborock Technology Co., Ltd.
Cleaning robot
6か月前
Beijing Roborock Technology Co., Ltd.
Cleaning robot
6か月前
Beijing Roborock Technology Co., Ltd.
Cleaning robot
7か月前
Beijing Roborock Technology Co., Ltd.
Cleaning robot
7か月前
Beijing Roborock Technology Co., Ltd.
Cleaning robot
7か月前
Beijing Roborock Technology Co., Ltd.
Cleaning robot
7か月前
Beijing Roborock Technology Co., Ltd.
Cleaning robot
7か月前
Beijing Roborock Technology Co., Ltd.
Cleaning robot
7か月前
Beijing Roborock Technology Co., Ltd.
Cleaning robot
7か月前
Beijing Roborock Technology Co., Ltd.
Cleaning robot
9か月前
Beijing Roborock Technology Co., Ltd.
Cleaning robot
9か月前
Beijing Roborock Technology Co., Ltd.
Vacuum cleaner
9か月前
Beijing Roborock Technology Co., Ltd.
Cleaning robot
9か月前
Beijing Roborock Technology Co., Ltd.
Cleaning robot
9か月前
Beijing Roborock Technology Co., Ltd.
Cleaning robot
9か月前
Beijing Roborock Technology Co., Ltd.
Cleaning robot
9か月前
Beijing Roborock Technology Co., Ltd.
Cleaning robot
10か月前
Beijing Roborock Technology Co., Ltd.
Cleaning robot
9か月前
Beijing Roborock Technology Co., Ltd.
Cleaning robot
10か月前
Beijing Roborock Technology Co., Ltd.
Cleaning robot
9か月前
Beijing Roborock Technology Co., Ltd.
Cleaning robot
9か月前
Beijing Roborock Technology Co., Ltd.
Cleaning robot
9か月前
続きを見る