TOP
|
特許
|
意匠
|
商標
意匠ウォッチ
Twitter
他の意匠を見る
発行日
2025-10-22
公報種別
意匠公報(S)
登録番号
1811007
登録日
2025-10-14
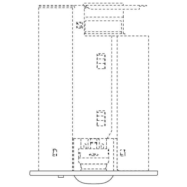
意匠に係る物品
天井埋込み灯
意匠分類
D3
-3102(発光具及び照明器具)
出願番号
2024022266
出願日
2024-10-25
意匠権者
パナソニックIPマネジメント株式会社
,
Panasonic Intellectual Property Management Co., Ltd.
代理人
個人
,
個人
意匠に係る物品の説明
意匠の説明
端面図を含めて、実線で表された部分が、部分意匠として意匠登録を受けようとする部分である。透明部及び各部の名称を示す参考図において、薄墨を施した部分の部材は透明である。
この意匠をJ-PlatPat(特許庁公式サイト)で参照する
関連意匠
パナソニックIPマネジメント株式会社
8か月前
パナソニックIPマネジメント株式会社
16か月前
パナソニックIPマネジメント株式会社
6か月前
パナソニックIPマネジメント株式会社
6か月前
パナソニックIPマネジメント株式会社
6か月前
パナソニックIPマネジメント株式会社
6か月前
パナソニックIPマネジメント株式会社
17か月前
パナソニックIPマネジメント株式会社
16か月前
パナソニックIPマネジメント株式会社
2か月前
パナソニックIPマネジメント株式会社
2か月前
パナソニックIPマネジメント株式会社
15か月前
パナソニックIPマネジメント株式会社
3か月前
パナソニックIPマネジメント株式会社
7か月前
パナソニックIPマネジメント株式会社
7か月前
パナソニックIPマネジメント株式会社
7か月前
パナソニックIPマネジメント株式会社
8か月前
パナソニックIPマネジメント株式会社
15か月前
パナソニックIPマネジメント株式会社
2か月前
パナソニックIPマネジメント株式会社
8か月前
パナソニックIPマネジメント株式会社
15か月前
パナソニックIPマネジメント株式会社
6か月前
パナソニックIPマネジメント株式会社
3か月前
パナソニックIPマネジメント株式会社
1か月前
パナソニックIPマネジメント株式会社
6か月前
パナソニックIPマネジメント株式会社
5か月前
パナソニックIPマネジメント株式会社
5か月前
パナソニックIPマネジメント株式会社
5か月前
パナソニックIPマネジメント株式会社
5か月前
パナソニックIPマネジメント株式会社
5か月前
パナソニックIPマネジメント株式会社
5か月前
パナソニックIPマネジメント株式会社
5か月前
パナソニックIPマネジメント株式会社
6か月前
パナソニックIPマネジメント株式会社
6か月前
パナソニックIPマネジメント株式会社
3か月前
パナソニックIPマネジメント株式会社
4か月前
パナソニックIPマネジメント株式会社
18か月前
続きを見る
他の意匠を見る