TOP
|
特許
|
意匠
|
商標
意匠ウォッチ
Twitter
他の意匠を見る
発行日
2025-09-22
公報種別
意匠公報(S)
登録番号
1808861
登録日
2025-09-11
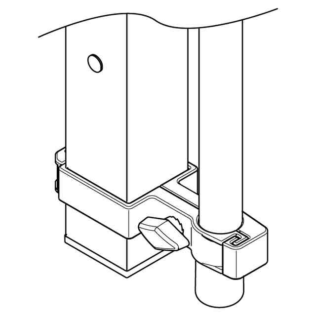
意匠に係る物品
家具用接続部品
意匠分類
D9
-162(住宅設備用品汎用部品及び付属品)
出願番号
2024023331
出願日
2024-11-11
意匠権者
株式会社カインズ
代理人
弁理士法人みなとみらい特許事務所
意匠に係る物品の説明
本物品は、家具用接続部品である。本物品は2つの柱材を離れた位置で同時に挟持することで、柱材を接続固定する。本物品は例えば、椅子や机等の家具の脚と、手摺や荷掛け、日除け等の付属具を接続するために用いられる。使用状態を示す参考図では、本物品がベンチと手摺を接続する様子を表す。
意匠の説明
実線で表した部分が、部分意匠として意匠登録を受けようとする部分である。図に現れる細線は、立体表面の形状を特定するものであり、意匠の模様を構成するものではない。
この意匠をJ-PlatPat(特許庁公式サイト)で参照する
関連意匠
株式会社カインズ
机
4か月前
株式会社カインズ
机
3か月前
株式会社カインズ
机
4か月前
株式会社カインズ
椅子
3か月前
株式会社カインズ
椅子
3か月前
株式会社カインズ
机
3か月前
株式会社カインズ
台車
3か月前
株式会社カインズ
台車
3か月前
株式会社カインズ
ベンチ
6か月前
株式会社カインズ
ベンチ
6か月前
株式会社カインズ
台車
4か月前
株式会社カインズ
衝立用枠
6か月前
株式会社カインズ
衝立用枠
6か月前
株式会社カインズ
スツール
11か月前
株式会社カインズ
スツール
9か月前
株式会社カインズ
テーブル
6か月前
株式会社カインズ
一輪運搬車
3か月前
株式会社カインズ
一輪運搬車
1か月前
株式会社カインズ
サンダル
11か月前
株式会社カインズ
サンダル
8か月前
株式会社カインズ
サンダル
8か月前
株式会社カインズ
サンダル
8か月前
株式会社カインズ
サンダル
8か月前
株式会社カインズ
テーブル
6か月前
株式会社カインズ
折り畳み椅子
6か月前
株式会社カインズ
衝立用ランナー
6か月前
株式会社カインズ
バッグ
11か月前
株式会社カインズ
バッグ
11か月前
株式会社カインズ
バッグ
11か月前
株式会社カインズ
バッグ
11か月前
株式会社カインズ
バッグ
11か月前
株式会社カインズ
ペンチ
5か月前
株式会社カインズ
折畳みテーブル
11か月前
株式会社カインズ
剪定鋏
9か月前
株式会社カインズ
ペンチ
5か月前
株式会社カインズ
棚
8か月前
続きを見る
他の意匠を見る