TOP
|
特許
|
意匠
|
商標
意匠ウォッチ
Twitter
他の意匠を見る
発行日
2025-09-19
公報種別
意匠公報(S)
登録番号
1808781
登録日
2025-09-10
意匠に係る物品
複合建築物
意匠分類
L3
-2000(組立て家屋、屋外装備品等)
出願番号
2025005414
出願日
2025-03-18
意匠権者
株式会社大林組
代理人
個人
,
個人
,
個人
意匠に係る物品の説明
本建築物は、複合建築物であって、内部には、テナントエリア、オフィスエリア等を有する。
意匠の説明
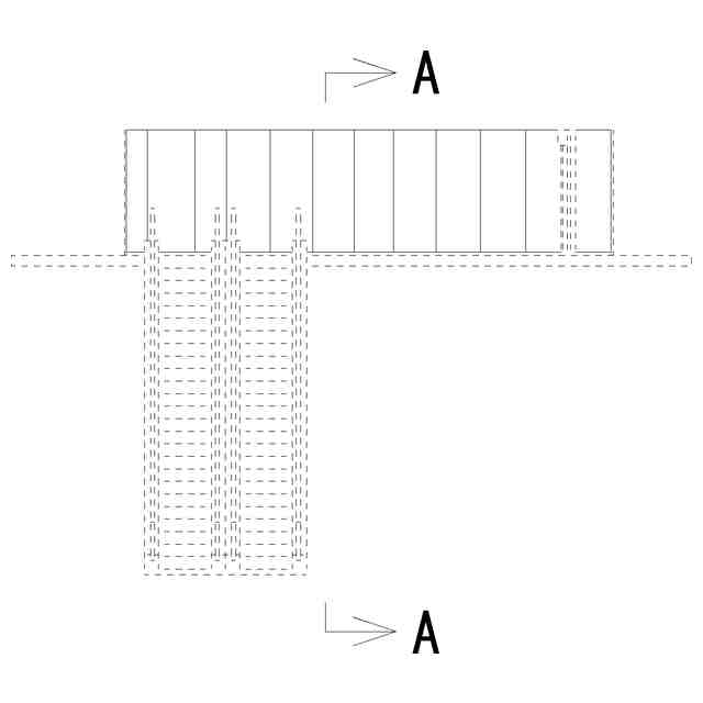
本件意匠は、建築物内の位置を特定しないエスカレーターエリアに係り、意匠登録を受けようとする部分は、エスカレーターを利用して到着したユーザーを特定方向(例えば、自動ドア等)に誘導する壁面に係る。実線で表された部分が意匠登録を受けようとする部分である。請求部分を示す参考図において、網点部は意匠登録を受けようとする部分を示す。背面図及び底面図は、意匠登録を受けようとする部分が表われないため省略する。
この意匠をJ-PlatPat(特許庁公式サイト)で参照する
関連意匠
株式会社大林組
ベンチ
6か月前
株式会社大林組
ベンチ
6か月前
株式会社大林組
ベンチ
8か月前
株式会社大林組
テーブル
6か月前
株式会社大林組
自動走行装置
11か月前
株式会社大林組
テーブル
6か月前
株式会社大林組
自動走行装置本体
11か月前
株式会社大林組
自動走行装置本体
11か月前
株式会社大林組
連結具
3か月前
株式会社大林組
吊元装置
2か月前
株式会社大林組
吊元装置
2か月前
株式会社大林組
柱
5か月前
株式会社大林組
柱
2か月前
株式会社大林組
柱
2か月前
株式会社大林組
家具用ユニット材
6か月前
株式会社大林組
仮囲いパネル
7か月前
株式会社大林組
温度調整機能付ベンチ
6か月前
株式会社大林組
温度調整機能付ベンチ
6か月前
株式会社大林組
温度調整機能付ベンチ
6か月前
株式会社大林組
柱材
2か月前
株式会社大林組
仮囲いパネル
7か月前
株式会社大林組
仮囲いパネル
10か月前
株式会社大林組
建築用格子
6か月前
株式会社大林組
照明具
10か月前
株式会社大林組
鋼管の篏合位置監視用画像
8か月前
株式会社大林組
建築物用構造体
7か月前
株式会社大林組
建築用ルーバー材
8か月前
株式会社大林組
柵
3か月前
株式会社大林組
銘板
6か月前
株式会社大林組
藻場礁
9か月前
株式会社大林組
藻場礁
9か月前
株式会社大林組
建築用ルーバー材
8か月前
株式会社大林組
植栽帯
4か月前
株式会社大林組
病院
7か月前
株式会社大林組
病院
5か月前
株式会社大林組
病院
7か月前
続きを見る
他の意匠を見る