TOP
|
特許
|
意匠
|
商標
意匠ウォッチ
Twitter
他の意匠を見る
発行日
2025-09-10
公報種別
意匠公報(S)
登録番号
1808228
登録日
2025-09-02
意匠に係る物品
化粧料塗布具
意匠分類
B7
-120(化粧用具又は理容用具)
出願番号
2024025265
出願日
2024-12-06
意匠権者
個人
代理人
個人
意匠に係る物品の説明
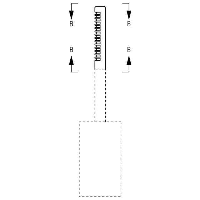
本物品は、頭髪やまつ毛に液体の化粧料を塗布するための化粧料塗布具である。化粧料塗布具は、塗布軸の先端に塗布部が設けられており、塗布部の内部には、軸体の周囲に短繊維が植毛された液保持体が収容されている。また、塗布部は、その半周面に櫛歯列が形成されており、隣り合う櫛歯の間から液保持体が露出するように構成されている。液保持体を設けることにより、より多量の化粧料を塗布部に保持させた状態で、化粧料を塗布することができる。
意匠の説明
参考図を除く図面において、実線で表された部分が、部分意匠として意匠登録を受けようとする部分である。一点鎖線は、部分意匠として意匠登録を受けようとする部分とその他の部分との境界を示す線である。底面図は、意匠登録を受けようとする部分が表れないため省略する。左側面図は右側面図と対称にあらわれるため省略する。
この意匠をJ-PlatPat(特許庁公式サイト)で参照する
関連意匠
深せん市港基電技術有限公司
櫛
7か月前
株式会社 MTG
くし
9か月前
株式会社 MTG
手鏡
1か月前
株式会社 MTG
手鏡
1か月前
株式会社イチネン製作所
くし
1か月前
安第創新科技(深せん)有限公司
くし
8か月前
ラクーナ ソシエダッド アノニマ
くし
2日前
株式会社貝印刃物開発センター
剃刀
8か月前
株式会社 MTG
くし
9か月前
株式会社イチネン製作所
くし
1か月前
株式会社 MTG
手鏡
1か月前
株式会社 MTG
くし
9か月前
株式会社 MTG
くし
9か月前
株式会社 MTG
くし
9か月前
ラクーナ ソシエダッド アノニマ
くし
9か月前
株式会社 MTG
くし
9か月前
株式会社 MTG
くし
9か月前
株式会社 MTG
くし
9か月前
株式会社セルコ
くし
10か月前
レック株式会社
くし
7か月前
株式会社 MTG
手鏡
1か月前
株式会社 MTG
くし
9か月前
サン頭市速雅日用品有限公司
剃刀
3か月前
サン頭市速雅日用品有限公司
剃刀
3か月前
サン頭市速雅日用品有限公司
剃刀
3か月前
サン頭市速雅日用品有限公司
剃刀
3か月前
サン頭市速雅日用品有限公司
剃刀
3か月前
サン頭市速雅日用品有限公司
剃刀
3か月前
株式会社イチネン製作所
くし
4か月前
株式会社イチネン製作所
くし
4か月前
株式会社イチネン製作所
くし
4か月前
深せん市北鯤未来科技有限公司
くし
5か月前
株式会社アリミノ
くし
6か月前
株式会社 MTG
くし
9か月前
レック株式会社
塗布具
2か月前
株式会社貝印刃物開発センター
爪磨き
2か月前
続きを見る
他の意匠を見る