TOP
|
特許
|
意匠
|
商標
意匠ウォッチ
Twitter
他の意匠を見る
発行日
2025-09-04
公報種別
意匠公報(S)
登録番号
1807809
登録日
2025-08-27
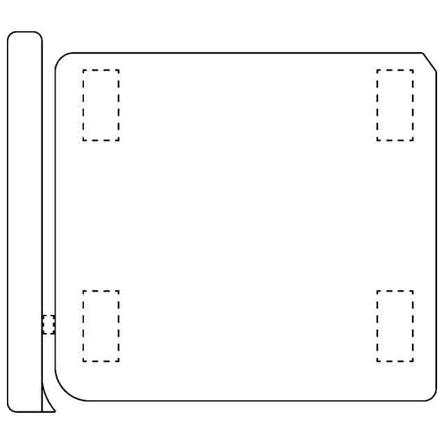
意匠に係る物品
決済機能付き衣服専用カート
意匠分類
G2
-52(車両)
出願番号
2025002672
出願日
2025-02-12
意匠権者
東芝テック株式会社
,
Toshiba Tec Kabushiki Kaisha
代理人
弁理士法人清水・醍醐事務所
,
個人
意匠に係る物品の説明
本意匠に係る物品は、衣料品店を跨いだ買い物を可能とする買い物カートである。未精算の衣類をカート内に収納しておき、購入の意思が固まった際にカートについている決済機能から購入手続きを取ることができる。
意匠の説明
実線で表した部分が、部分意匠として意匠登録を受けようとする部分である。
この意匠をJ-PlatPat(特許庁公式サイト)で参照する
関連意匠
東芝テック株式会社
選択用画像
6か月前
東芝テック株式会社
選択用画像
6か月前
東芝テック株式会社
情報入力用画像
6か月前
東芝テック株式会社
情報入力用画像
6か月前
東芝テック株式会社
情報入力用画像
6か月前
東芝テック株式会社
商品登録用画像
6か月前
東芝テック株式会社
商品登録用画像
6か月前
東芝テック株式会社
情報入力用画像
6か月前
東芝テック株式会社
情報入力用画像
6か月前
東芝テック株式会社
アイコン用画像
6か月前
東芝テック株式会社
アイコン用画像
6か月前
東芝テック株式会社
アイコン用画像
6か月前
東芝テック株式会社
アイコン用画像
6か月前
東芝テック株式会社
アイコン用画像
6か月前
東芝テック株式会社
アイコン用画像
6か月前
東芝テック株式会社
アイコン用画像
6か月前
東芝テック株式会社
通知表示用画像
7か月前
東芝テック株式会社
アイコン用画像
6か月前
東芝テック株式会社
アイコン用画像
6か月前
東芝テック株式会社
アイコン用画像
6か月前
東芝テック株式会社
アイコン用画像
6か月前
東芝テック株式会社
アイコン用画像
6か月前
東芝テック株式会社
異常対応用画像
7か月前
東芝テック株式会社
商品登録用画像
7か月前
東芝テック株式会社
音量調節用画像
7か月前
東芝テック株式会社
状況確認用画像
6か月前
東芝テック株式会社
アイコン用画像
6か月前
東芝テック株式会社
アイコン用画像
6か月前
東芝テック株式会社
アイコン用画像
6か月前
東芝テック株式会社
商品登録用画像
7か月前
東芝テック株式会社
アイコン用画像
5か月前
東芝テック株式会社
アイコン用画像
5か月前
東芝テック株式会社
アイコン用画像
2か月前
東芝テック株式会社
アイコン用画像
5か月前
東芝テック株式会社
アイコン用画像
6か月前
東芝テック株式会社
アイコン用画像
6か月前
続きを見る
他の意匠を見る