TOP
|
特許
|
意匠
|
商標
意匠ウォッチ
Twitter
他の意匠を見る
発行日
2025-08-29
公報種別
意匠公報(S)
登録番号
1807379
登録日
2025-08-21
意匠に係る物品
遺骨収納容器
意匠分類
C7
-120(慶弔用品)
出願番号
2025001989
出願日
2025-02-03
意匠権者
個人
,
個人
,
個人
代理人
個人
意匠に係る物品の説明
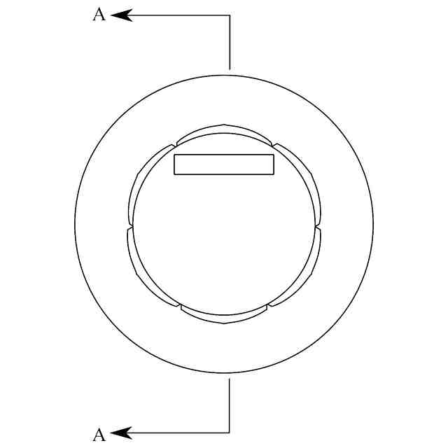
本物品は分骨された遺骨を収納する遺骨収納容器である。本物品は、略円筒状の本体部と本体部の上面を覆う透明なカバーとを備えている。カバーの下端外周には雄ねじが形成されており、本体部の上面側に形成された雌ねじと螺合することにより、カバーを本体部に対して固定することができる。本体部の上面には遺骨を載置する載置台が設けられている。載置台は6弁の蓮の葉を模した飾りによって周囲を囲まれており、6枚の飾りと載置台の上面とによって凹部が形成されている。使用する際には、この凹部に遺骨を載置し、カバーを被せる。また、載置台の上面の後方寄りの位置には縦長板状の法名板が設けられており、法名等を刻むことができる。本物品の高さは約50mm、幅は約30mmであり、喉仏のような小さな遺骨の収納に適している。本物品に分骨された遺骨を収納し、仏壇等にお祀りする。カバーが透明であるため、収納された遺骨は外部から見ることができる。
意匠の説明
右側面図は左側面図と左右対称に表れるため右側面図を省略する。背面図は正面図と同一に表れるため背面図を省略する。カバーは透明であり、参考斜視図においては表していない。
この意匠をJ-PlatPat(特許庁公式サイト)で参照する
関連意匠
株式会社 萩原
棺
2か月前
公益財団法人山形霊園
墓石
1日前
株式会社野沢木工所
仏壇
8か月前
株式会社 宮忠
神棚
8か月前
株式会社 宮忠
神棚
8か月前
株式会社 宮忠
神棚
8か月前
株式会社 宮忠
花立
8か月前
株式会社TAJIRO
置物
8か月前
株式会社TAJIRO
置物
5か月前
公益財団法人山形霊園
墓石
1日前
株式会社 宮忠
神棚
8か月前
三和物産株式会社
骨壷
3か月前
個人
香炉
3か月前
個人
仏壇
3か月前
個人
お札
3か月前
株式会社小泉製作所
りん
3か月前
株式会社 宮忠
神棚
8か月前
株式会社 宮忠
神棚
8か月前
有限会社稲垣塗装所
仏壇
3か月前
名工銘鈑株式会社
神棚
9か月前
株式会社小泉製作所
りん
11か月前
株式会社小泉製作所
りん
11か月前
個人
御札
9か月前
株式会社関菊
りん
9か月前
新日本石材株式会社
霊標
9か月前
個人
香炉
9か月前
個人
香炉
9か月前
佐々木陶器株式会社
仏器
8か月前
有限会社ハンド
香皿
9か月前
カリモク家具株式会社
仏壇
9か月前
株式会社雪花
香炉
8か月前
個人
墓石
8か月前
株式会社雪花
香炉
8か月前
佐々木陶器株式会社
仏器
8か月前
株式会社小泉製作所
りん
3か月前
個人
骨箱
6か月前
続きを見る
他の意匠を見る