TOP
|
特許
|
意匠
|
商標
意匠ウォッチ
Twitter
他の意匠を見る
発行日
2025-07-29
公報種別
意匠公報(S)
登録番号
1804634
登録日
2025-07-18
意匠に係る物品
フック
意匠分類
D6
-20(室内整理用家具・用具)
出願番号
2025001366
出願日
2025-01-24
意匠権者
株式会社カベラボ
代理人
個人
意匠に係る物品の説明
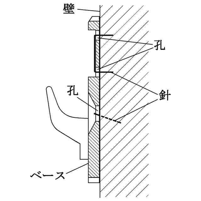
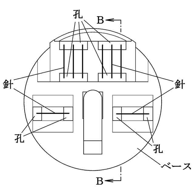
本物品は、石膏ボード等の壁に取り付けて使用する、時計,額縁等の物品吊り下げ用フックであり、「参考分解斜視図1」及び「参考分解斜視図2」に示すように、ベースと化粧カバーに分離でき、「取付方法を示す参考斜視図」,「取付方法を示す参考正面図」及び「取付方法を示す参考B-B断面図」に示すように、ベースを壁に当てながら、ステープラーでコ字形の針(ステープル)をベースの孔と孔の間を跨ぐように打ち込むことでベースを壁に固定し、その後、化粧カバーを装着して孔や針を隠し、美観を向上させた。尚、本物品は、合成樹脂製であり、幅約43mm,高さ約43mm,奥行き約14mm(突起部含む)である。
意匠の説明
左側面図は右側面図と対称にあらわれるため省略する。
この意匠をJ-PlatPat(特許庁公式サイト)で参照する
関連意匠
株式会社カベラボ
フック
1か月前
株式会社カベラボ
フック
1か月前
株式会社カベラボ
フック
4か月前
株式会社イクロス
棚
7か月前
イデア 株式会社
棚
9か月前
株式会社カインズ
棚
1か月前
株式会社カインズ
棚
1か月前
株式会社カインズ
棚
6か月前
株式会社カインズ
棚
6か月前
株式会社カインズ
棚
8か月前
株式会社カインズ
棚
6か月前
株式会社カインズ
棚
6か月前
株式会社カインズ
棚
12か月前
株式会社カインズ
棚
12か月前
株式会社カインズ
棚
12か月前
株式会社カインズ
棚
5か月前
株式会社イトーキ
棚
11か月前
株式会社カインズ
棚
5か月前
株式会社イトーキ
棚
8か月前
株式会社イトーキ
棚
8か月前
株式会社カインズ
棚
5か月前
アンブラ エルエルシー
棚
3か月前
株式会社カインズ
棚
12か月前
株式会社カインズ
棚
12か月前
株式会社カインズ
棚
12か月前
株式会社イトーキ
棚
11か月前
株式会社エトウ
本棚
6か月前
筑波国際交易有限会社
花台
4か月前
景寧美格科技服務有限公司
戸棚
11か月前
株式会社エトウ
本棚
6か月前
個人
本棚
10か月前
株式会社カインズ
ラック
6か月前
株式会社オカムラ
ワゴン
8か月前
アイリスオーヤマ株式会社
収納棚
11か月前
株式会社エア・リゾーム
収納棚
1か月前
株式会社オカムラ
整理棚
8か月前
続きを見る
他の意匠を見る