TOP
|
特許
|
意匠
|
商標
意匠ウォッチ
Twitter
他の意匠を見る
発行日
2025-07-16
公報種別
意匠公報(S)
登録番号
1803820
登録日
2025-07-08
意匠に係る物品
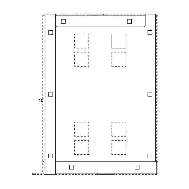
組立ブース
意匠分類
L3
-2010(組立て家屋、屋外装備品等)
出願番号
2024026173
出願日
2024-12-18
意匠権者
川上産業株式会社
代理人
個人
,
個人
意匠に係る物品の説明
本物品は、主に壁に接して設置されるゲーミング用の組立ブースである。内部にて使用するゲーミング用パソコン等の機器により大量の熱が発生するため新鮮な空気の流入と排熱等が必要であり、良好な空気循環を促進するため側壁パネルに吸排気用孔部を複数設けた点を特徴とする。当該吸排気用孔部には適宜ファン等を設置して使用することが可能である。
意匠の説明
実線で表された部分が、意匠登録を受けようとする部分である。「斜視図1」「斜視図2」「A-A端面図」「B-B端面図」「C-C端面図」及び「D-D端面図」を含めて意匠登録を受けようとする部分を特定している。「意匠登録を受けようとする部分を示す参考図1」及び「意匠登録を受けようとする部分を示す参考図2」において青色の着色を施した部分が、意匠登録を受けようとする部分である。
この意匠をJ-PlatPat(特許庁公式サイト)で参照する
関連意匠
他の意匠を見る