TOP
|
特許
|
意匠
|
商標
意匠ウォッチ
Twitter
他の意匠を見る
発行日
2025-07-09
公報種別
意匠公報(S)
登録番号
1803269
登録日
2025-07-01
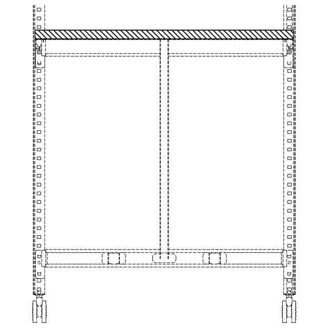
意匠に係る物品
作業台
意匠分類
K1
-55(利器及び工具)
出願番号
2024022156
出願日
2024-10-24
意匠権者
株式会社オカムラ
代理人
意匠に係る物品の説明
本物品は、四方に断面略L字状の支柱を備えたものである。支柱には上下方向に天板や連結部材を係止する為の複数の穴を備えており、係止位置を高さ方向において変更可能としたものである。正面視右側のフレームにモニターを吊支備えたものである。モニターを右側面外側に取り付けた状態を示す斜視図の様に、モニターは天板上方である内側にも、四方支柱の外側にも吊支可能なものである。
意匠の説明
背面図は正面図と対称にあらわれるため省略する。実線で示した部分が、部分意匠として意匠登録を受けようとする部分である。
この意匠をJ-PlatPat(特許庁公式サイト)で参照する
関連意匠
株式会社オカムラ
いす
7か月前
株式会社オカムラ
いす
6か月前
株式会社オカムラ
いす
6か月前
株式会社オカムラ
いす
6か月前
株式会社オカムラ
机
9か月前
株式会社オカムラ
いす
6か月前
株式会社オカムラ
いす
6か月前
株式会社オカムラ
いす
6か月前
株式会社オカムラ
いす
6か月前
株式会社オカムラ
いす
6か月前
株式会社オカムラ
机
9か月前
株式会社オカムラ
いす
8か月前
株式会社オカムラ
いす
6か月前
株式会社オカムラ
机
9か月前
株式会社オカムラ
いす
3か月前
株式会社オカムラ
いす
6か月前
株式会社オカムラ
机
4か月前
株式会社オカムラ
いす
6か月前
株式会社オカムラ
いす
6か月前
株式会社オカムラ
机
9か月前
株式会社オカムラ
いす
7か月前
株式会社オカムラ
いす
7か月前
株式会社オカムラ
いす
7か月前
株式会社オカムラ
机
7か月前
株式会社オカムラ
いす
7か月前
株式会社オカムラ
いす
7か月前
株式会社オカムラ
いす
7か月前
株式会社オカムラ
いす
7か月前
株式会社オカムラ
いす
7か月前
株式会社オカムラ
机
7か月前
株式会社オカムラ
いす
7か月前
株式会社オカムラ
いす
7か月前
株式会社オカムラ
いす
7か月前
株式会社オカムラ
いす
7か月前
株式会社オカムラ
ベンチ
7か月前
株式会社オカムラ
長いす
9か月前
続きを見る
他の意匠を見る