TOP
|
特許
|
意匠
|
商標
意匠ウォッチ
Twitter
他の意匠を見る
発行日
2025-11-07
公報種別
意匠公報(S)
登録番号
1783546
登録日
2024-10-23
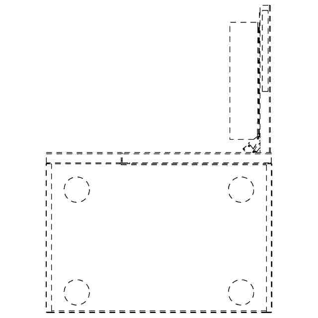
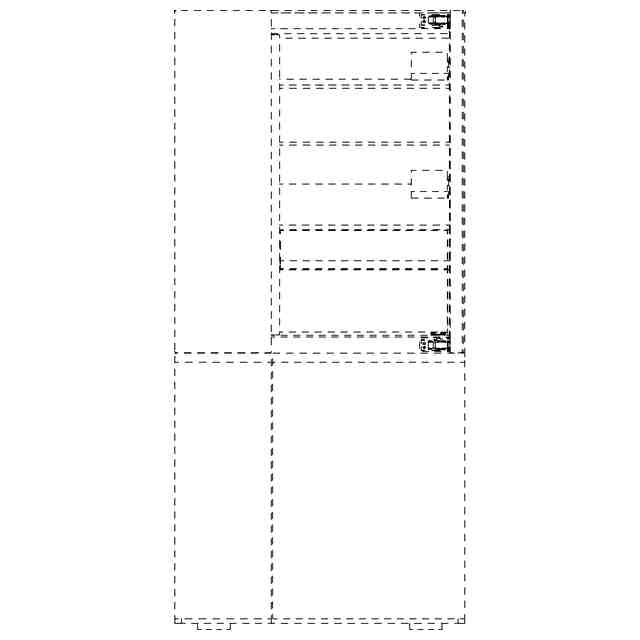
意匠に係る物品
冷蔵庫
意匠分類
C6
-51340(飲食用具及び調理用器具)
出願番号
2023026683
出願日
2023-12-22
意匠権者
パナソニックIPマネジメント株式会社
,
Panasonic Intellectual Property Management Co., Ltd.
代理人
個人
,
個人
意匠に係る物品の説明
意匠の説明
「断面図」「拡大図」を含めて、実線で表された部分が、部分意匠として意匠登録を受けようとする部分である。一点鎖線は、部分意匠として意匠登録を受けようとする部分と、その他の部分との境界のみを示す線である。
意匠ウォッチbot のツイートを見る
この意匠をJ-PlatPat(特許庁公式サイト)で参照する
関連意匠
パナソニックIPマネジメント株式会社
2日前
パナソニックIPマネジメント株式会社
5か月前
パナソニックIPマネジメント株式会社
6か月前
パナソニックIPマネジメント株式会社
6か月前
パナソニックIPマネジメント株式会社
12か月前
パナソニックIPマネジメント株式会社
6か月前
パナソニックIPマネジメント株式会社
6か月前
パナソニックIPマネジメント株式会社
6か月前
パナソニックIPマネジメント株式会社
12か月前
パナソニックIPマネジメント株式会社
13か月前
パナソニックIPマネジメント株式会社
13か月前
パナソニックIPマネジメント株式会社
6か月前
パナソニックIPマネジメント株式会社
10か月前
パナソニックIPマネジメント株式会社
5か月前
パナソニックIPマネジメント株式会社
5か月前
パナソニックIPマネジメント株式会社
5か月前
パナソニックIPマネジメント株式会社
13か月前
パナソニックIPマネジメント株式会社
6か月前
パナソニックIPマネジメント株式会社
5か月前
パナソニックIPマネジメント株式会社
18か月前
パナソニックIPマネジメント株式会社
4か月前
パナソニックIPマネジメント株式会社
18か月前
パナソニックIPマネジメント株式会社
18か月前
パナソニックIPマネジメント株式会社
16か月前
パナソニックIPマネジメント株式会社
5か月前
パナソニックIPマネジメント株式会社
5か月前
パナソニックIPマネジメント株式会社
14か月前
パナソニックIPマネジメント株式会社
16か月前
パナソニックIPマネジメント株式会社
15か月前
パナソニックIPマネジメント株式会社
5か月前
パナソニックIPマネジメント株式会社
15か月前
パナソニックIPマネジメント株式会社
15か月前
パナソニックIPマネジメント株式会社
15か月前
パナソニックIPマネジメント株式会社
6か月前
パナソニックIPマネジメント株式会社
6か月前
パナソニックIPマネジメント株式会社
4か月前
続きを見る
他の意匠を見る