TOP
|
特許
|
意匠
|
商標
意匠ウォッチ
Twitter
他の意匠を見る
発行日
2025-08-13
公報種別
意匠公報(S)
登録番号
1767652
登録日
2024-03-29
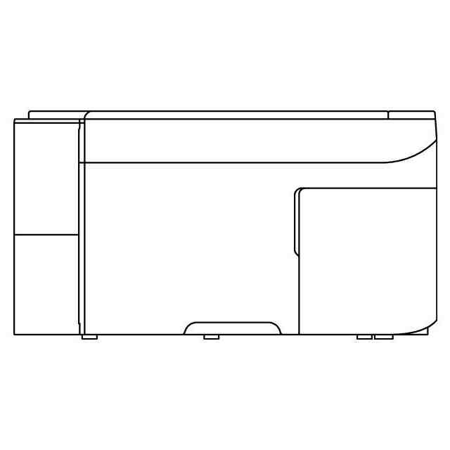
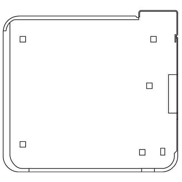
意匠に係る物品
プリンター
意匠分類
H7
-52(電子情報入出力機器)
出願番号
2023018297
出願日
2023-09-07
意匠権者
セイコーエプソン株式会社
,
SEIKO EPSON CORPORATION
代理人
個人
,
個人
,
個人
意匠に係る物品の説明
本物品は、インク残量が視認可能な透光性を有する部分を備えるプリンターである。
意匠の説明
斜視図に表れる途切れた線は、立体表面の形状を表すためのものである。意匠登録を受けようとする部分を実線で、それ以外の部分を破線で表している。透光性を有する部分を示す参考正面図において、赤色を施した部分は透光性を有する。
この意匠をJ-PlatPat(特許庁公式サイト)で参照する
関連意匠
セイコーエプソン株式会社
15か月前
セイコーエプソン株式会社
9か月前
セイコーエプソン株式会社
11か月前
セイコーエプソン株式会社
11か月前
セイコーエプソン株式会社
9か月前
セイコーエプソン株式会社
9か月前
セイコーエプソン株式会社
9か月前
セイコーエプソン株式会社
9か月前
セイコーエプソン株式会社
9か月前
セイコーエプソン株式会社
15か月前
セイコーエプソン株式会社
9か月前
セイコーエプソン株式会社
9か月前
セイコーエプソン株式会社
9か月前
セイコーエプソン株式会社
22か月前
セイコーエプソン株式会社
9か月前
セイコーエプソン株式会社
9か月前
セイコーエプソン株式会社
9か月前
セイコーエプソン株式会社
13か月前
セイコーエプソン株式会社
15か月前
セイコーエプソン株式会社
8か月前
セイコーエプソン株式会社
22か月前
セイコーエプソン株式会社
18か月前
セイコーエプソン株式会社
17か月前
セイコーエプソン株式会社
17か月前
セイコーエプソン株式会社
17か月前
セイコーエプソン株式会社
22か月前
セイコーエプソン株式会社
17か月前
セイコーエプソン株式会社
17か月前
セイコーエプソン株式会社
1か月前
セイコーエプソン株式会社
17か月前
セイコーエプソン株式会社
17か月前
セイコーエプソン株式会社
16か月前
セイコーエプソン株式会社
16か月前
セイコーエプソン株式会社
15か月前
セイコーエプソン株式会社
15か月前
セイコーエプソン株式会社
15か月前
続きを見る
他の意匠を見る