TOP
|
特許
|
意匠
|
商標
意匠ウォッチ
Twitter
他の意匠を見る
発行日
2025-10-16
公報種別
意匠公報(S)
登録番号
1741452
登録日
2023-03-31
意匠に係る物品
プリンター
意匠分類
K0
-20(K1~K9に属さないその他の産業用機械器具)
出願番号
2022024557
出願日
2022-11-14
意匠権者
セイコーエプソン株式会社
,
SEIKO EPSON CORPORATION
代理人
個人
,
個人
,
個人
意匠に係る物品の説明
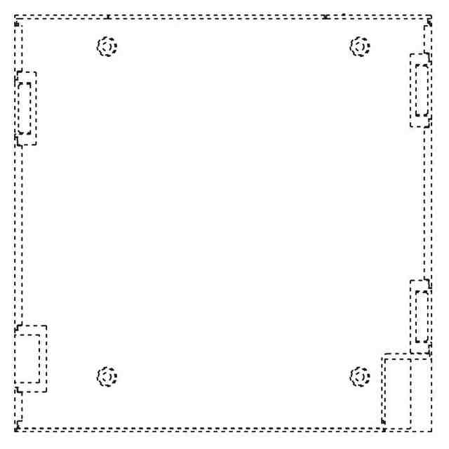
本物品は、透光性を有する開閉可能なカバーを備え、用紙より厚い立体物に印刷可能なプリンターである。カバーを開けることにより、本物品の内部への立体物の配置や取り出しが可能である。意匠登録を受けようとする部分は、本物品の上部の部分である。
意匠の説明
実線及び一点鎖線で囲われた部分が意匠登録を受けようとする部分である。一点鎖線は、意匠登録を受けようとする部分とそれ以外の部分との境界を表わすものである。透光性を有する部分を示す参考斜視図1、および透光性を有する部分を示す参考斜視図2において、赤色を施した部分は透光性を有する。
この意匠をJ-PlatPat(特許庁公式サイト)で参照する
関連意匠
セイコーエプソン株式会社
29日前
セイコーエプソン株式会社
8か月前
セイコーエプソン株式会社
12か月前
セイコーエプソン株式会社
11か月前
セイコーエプソン株式会社
11か月前
セイコーエプソン株式会社
10か月前
セイコーエプソン株式会社
10か月前
セイコーエプソン株式会社
8か月前
セイコーエプソン株式会社
8か月前
セイコーエプソン株式会社
8か月前
セイコーエプソン株式会社
14か月前
セイコーエプソン株式会社
8か月前
セイコーエプソン株式会社
8か月前
セイコーエプソン株式会社
8か月前
セイコーエプソン株式会社
8か月前
セイコーエプソン株式会社
8か月前
セイコーエプソン株式会社
8か月前
セイコーエプソン株式会社
8か月前
セイコーエプソン株式会社
14か月前
セイコーエプソン株式会社
29日前
セイコーエプソン株式会社
8か月前
セイコーエプソン株式会社
16か月前
セイコーエプソン株式会社
21か月前
セイコーエプソン株式会社
21か月前
セイコーエプソン株式会社
21か月前
セイコーエプソン株式会社
17か月前
セイコーエプソン株式会社
17か月前
セイコーエプソン株式会社
16か月前
セイコーエプソン株式会社
16か月前
セイコーエプソン株式会社
16か月前
セイコーエプソン株式会社
14か月前
セイコーエプソン株式会社
16か月前
セイコーエプソン株式会社
16か月前
セイコーエプソン株式会社
16か月前
セイコーエプソン株式会社
16か月前
セイコーエプソン株式会社
16か月前
続きを見る
他の意匠を見る