TOP
|
特許
|
意匠
|
商標
意匠ウォッチ
Twitter
他の意匠を見る
発行日
2025-11-11
公報種別
意匠公報(S)
登録番号
1729040
登録日
2022-10-26
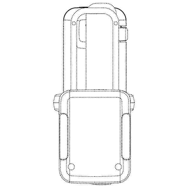
意匠に係る物品
刺しゅう機
意匠分類
K5
-20(繊維機械及びミシン)
出願番号
2022006204
出願日
2022-03-25
意匠権者
ブラザー工業株式会社
,
BROTHER KOGYO KABUSHIKI KAISHA
代理人
意匠に係る物品の説明
本物品は、刺しゅう機であり、「正面図」に示す側を正面として使用する。
意匠の説明
実線で表された部分が部分意匠として意匠登録を受けようとする部分である。一点鎖線は、部分意匠として意匠登録を受けようとする部分とその他の部分との境界のみを示す線である。「意匠登録を受けようとする部分を示す参考図1」、「意匠登録を受けようとする部分を示す参考図2」および「意匠登録を受けようとする部分を示す参考図3」において、青色の着色を施した部分が、部分意匠として意匠登録を受けようとする部分である。
この意匠をJ-PlatPat(特許庁公式サイト)で参照する
関連意匠
ブラザー工業株式会社
1か月前
ブラザー工業株式会社
5か月前
ブラザー工業株式会社
1か月前
ブラザー工業株式会社
12か月前
ブラザー工業株式会社
9か月前
ブラザー工業株式会社
8か月前
ブラザー工業株式会社
8か月前
ブラザー工業株式会社
8か月前
ブラザー工業株式会社
8か月前
ブラザー工業株式会社
8か月前
ブラザー工業株式会社
8か月前
ブラザー工業株式会社
6か月前
ブラザー工業株式会社
5か月前
ブラザー工業株式会社
5か月前
ブラザー工業株式会社
5か月前
ブラザー工業株式会社
8か月前
ブラザー工業株式会社
5か月前
ブラザー工業株式会社
3か月前
ブラザー工業株式会社
1か月前
ブラザー工業株式会社
5か月前
ブラザー工業株式会社
1か月前
ブラザー工業株式会社
1か月前
ブラザー工業株式会社
3か月前
ブラザー工業株式会社
1か月前
ブラザー工業株式会社
3か月前
ブラザー工業株式会社
5か月前
ブラザー工業株式会社
3か月前
ブラザー工業株式会社
5か月前
ブラザー工業株式会社
3か月前
ブラザー工業株式会社
3か月前
ブラザー工業株式会社
アイコン用画像
3か月前
ブラザー工業株式会社
プリンター
1か月前
ブラザー工業株式会社
プリンター
8か月前
ブラザー工業株式会社
プリンター
8か月前
ブラザー工業株式会社
プリンター
8か月前
ブラザー工業株式会社
プリンター
7か月前
続きを見る
他の意匠を見る