TOP
|
特許
|
意匠
|
商標
意匠ウォッチ
Twitter
他の意匠を見る
発行日
2025-03-18
公報種別
意匠公報(S)
登録番号
1709776
登録日
2022-03-04
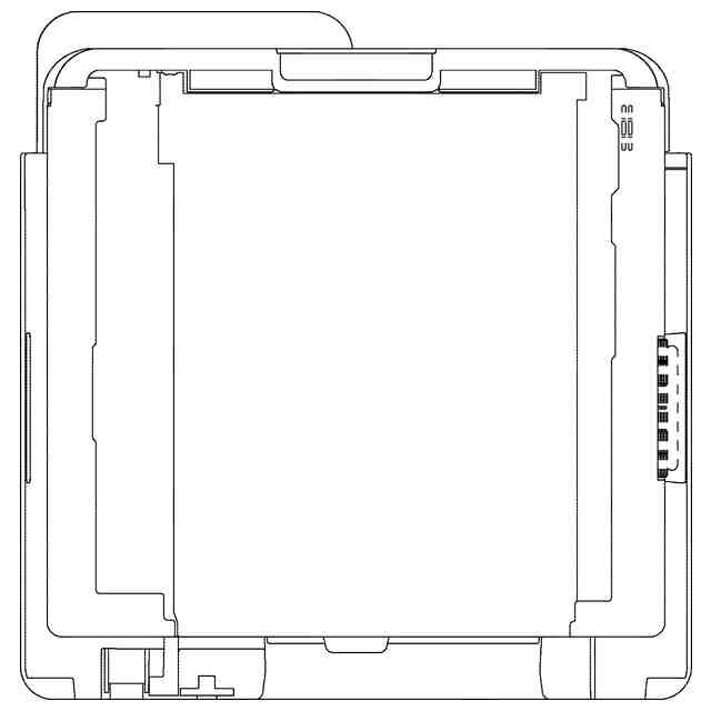
意匠に係る物品
プリンター
意匠分類
H7
-52(電子情報入出力機器)
出願番号
2021015777
出願日
2021-07-20
意匠権者
ブラザー工業株式会社
,
BROTHER KOGYO KABUSHIKI KAISHA
代理人
意匠に係る物品の説明
本物品は、コピー、スキャナー、ファクシミリ機能付プリンターである。
意匠の説明
この意匠をJ-PlatPat(特許庁公式サイト)で参照する
関連意匠
ブラザー工業株式会社
1か月前
ブラザー工業株式会社
5か月前
ブラザー工業株式会社
1か月前
ブラザー工業株式会社
12か月前
ブラザー工業株式会社
9か月前
ブラザー工業株式会社
8か月前
ブラザー工業株式会社
8か月前
ブラザー工業株式会社
8か月前
ブラザー工業株式会社
8か月前
ブラザー工業株式会社
8か月前
ブラザー工業株式会社
8か月前
ブラザー工業株式会社
6か月前
ブラザー工業株式会社
5か月前
ブラザー工業株式会社
5か月前
ブラザー工業株式会社
5か月前
ブラザー工業株式会社
8か月前
ブラザー工業株式会社
5か月前
ブラザー工業株式会社
3か月前
ブラザー工業株式会社
1か月前
ブラザー工業株式会社
5か月前
ブラザー工業株式会社
1か月前
ブラザー工業株式会社
1か月前
ブラザー工業株式会社
3か月前
ブラザー工業株式会社
1か月前
ブラザー工業株式会社
3か月前
ブラザー工業株式会社
5か月前
ブラザー工業株式会社
3か月前
ブラザー工業株式会社
5か月前
ブラザー工業株式会社
3か月前
ブラザー工業株式会社
3か月前
ブラザー工業株式会社
アイコン用画像
3か月前
ブラザー工業株式会社
プリンター
1か月前
ブラザー工業株式会社
プリンター
8か月前
ブラザー工業株式会社
プリンター
8か月前
ブラザー工業株式会社
プリンター
8か月前
ブラザー工業株式会社
プリンター
7か月前
続きを見る
他の意匠を見る